甲類功放不存在交越失真,音頻信號可以完整地傳輸。一部甲類功放,輸出功率是多少?功率損耗是多少?這些都是甲類功放制作的前期理論計算。本文詳細介紹推挽式甲類功放的輸出功率及損耗的分析及計算。
甲類功放的組成
甲類功放多采用NPN與PNP配對的推挽式工作方式。推挽式甲類功放電路,可以看成是由2個單管式甲類射極器組成。
正電源的NPN管與負電源的PNP管分別工作于甲類狀態,對整個音頻信號進行放大。輸出到音箱。
甲類功放的工作原理
推挽式甲類功放在進行組裝調試前一定要知道,做多大的功率?需要多大靜態電流?供應電流是多少?損耗是多少?這方面的資料難尋。有些生產廠家在甲類功放上標示的功率是不是真有這么大?購買者都想核實。如何達到以上目標呢?
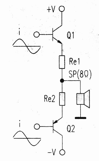
這就需要對推挽式甲類功放進行理論分析。圖1是甲類推挽式功放輸出電路,這個輸出電路可以分解成圖2。

圖1 甲類推挽式功放輸出電路 圖2 輸出電路分解圖
從圖2可知,喇叭所獲得的電流是由NPN和PNP三極管分別提供的。NPN功放管和PNP功放管輸入的音頻信號極性是相同的。
甲類功放的輸出功率計算
甲類工作狀態就是三極管在工作時任何時候都有電流。不論驅動近年來,許多人以低價銷售安裝中星6B的C波段接收裝置。但一般未滿兩年這些鍋體便因嚴重銹蝕而紛紛解體,以致無信號是正值還是負值,末級管都有電流流過。單管甲類工作集電極電流波形見圖3。以正弦波為例,靜態電流為正弦波峰值即Io=lf,最大電流為2倍波峰值即Imax=21f=2I.這樣的靜態電流設置可保證整個信號周期內三極管都有電流流過。要求功放輸出功率,必須求出輸出電流有效值。電流有效值見圖3所示。
輸出電流波形陰影部分面積之和等效值:

每個管子甲類輸出功率為P甲1=I02Z(Z為輸出阻抗)。NPN和PNP兩個末級管總輸出甲類功率為P甲2=2P甲1=2I02Z.一般音箱阻抗為Z=8Ω。公式簡化為P甲2=2I02Z8=16I02z.
通過上式可知計算出某臺甲類功放的輸出功率。該功放靜態電流為1.6A,P甲2=16I02Z=16X1.62=40.96(W)。文章所說40W/8Ω甲類輸出功率是可信的。

圖3 單管甲類工作集電極電流波形
[page]
8Ω負載甲類輸出功率與靜態電流見表1。

表1 8Ω負載甲類輸出功率與靜態電流
以Io為變化量。P甲2的曲線見圖4,是一條拋物線。

圖4 P甲2的曲線
甲類功放變壓器配備:最大電流Imax=2I0,電源供給功率為P供=2VImax=4VIo,變壓器容量S應大于P供,一般取S=1.2P供即可。還以上例計算,V=32V,10=1.6A,P供=4VI=4x32x1.6=204.8(W)。S1=1.2P供=1.2x204.8=245.76(W)。這是一個聲道變壓器容量。如果2個聲道合用1個變壓器,則變壓器容量S2=2S1=2x245.76=491.52W.文章配500w變壓器是合理的。
甲類功放供電電壓確定:供電電壓與負載所要求功率有關。P=U2/2,U=√PZ,音箱阻抗為8Ω,公式簡化為V1=√8P=2.83√P.40W甲類功放當阻抗為8Ω時,兩端電壓為V2=2.83√40=17.9(V)。最大電壓按最大電流為2倍靜態電流推算,應為17.9x2=36V.所以40W甲類輸出電壓最好是正負36V.用±32供電稍低,不同甲類功放輸出功率與電壓對應值見下表。這個電壓為最佳值,太大損耗大,太小動態受影響。
甲類功放效率分析:有效功率P1=IoIoZ。電源輸出功率為P2=2VIo,效率η=P1/P2=IoI.8/2VIo=IoIo.8/2VIo=4lo/V.從上面公式可知電壓越高效率越低。甲類功放電壓不能太低也不能太高,太低影響動態效應,太高影響效率。以1.6A 32V,40W甲類輸出為例,計算效率11=4×1.6/32×100%=20%.所以甲類功放效率很低。各種甲類功放因輸出功率不同而效率不同,見表2。甲類效率最高的是40W功率功放。

表2 各種甲類功放因輸出功率不同而效率不同


